Cửa lưới chống muỗi dạng xếp lùa Zipooh
GIỚI THIỆU CỬA LƯỚI CHỐNG MUỖI DẠNG XẾP LÙA ZIPOOH
a) Giới thiệu
Cửa lưới chống muỗi dạng xếp lùa với ưu điểm xếp gọn khi không dùng, kéo trượt dễ dàng. Thiết kế gọn gàng cửa chống muỗi kiểu lùa có thể được sử dụng để lắp đặt cho mọi không gian. Mọi kiến trúc và phù hợp với mọi gia đình. Sản phẩm cửa lưới giúp chặn không chỉ muỗi mà cả các loại sinh vật gây hại khác: ruồi, chuột, bướm, gián... và các tạp chất lạ xâm nhập vào trong nhà, giúp bảo vệ hiệu quả gia đình bạn khỏi các bệnh truyền nhiễm do ruồi muỗi gây ra.
b) Ưu điểm
- - Kiểm soát tối ưu sự xâm nhập của côn trùng, tạp vật, kích thước nhỏ vào không gian và môi trường sống làm việc riêng
- - Tính tiện lợi: Khi sử dụng cửa lưới chống muỗi Metaco dạng xếp lùa, người sử dụng có thể đóng lưới lại khi cần thiết và cất lưới đi khi không sử dụng đến.
- - Sản phẩm được lắp đặt tùy biến theo không gian & diện tích của vị trí cửa, tính thẩm mỹ cao, không phá vỡ cấu trúc căn nhà.
- - Dễ dàng lắp đặt lưới cho cửa khi cần sử dụng: Màn lưới và thanh trượt được lắp đặt tiếp xúc hoàn toàn điểm dừng, do vậy không có khoảng trống nào để muỗi có thể lọt qua
- - Với các lỗ nhỏ thông thoáng cửa lưới giúp gia chủ tận dụng ánh sáng và gió trời đem đến sự thông thoáng cho ngôi nhà đồng thời giúp tiết kiệm chi phí năng lượng (điều hoà, điện chiếu sàng, quạt gió....), sảng khoái hoàn toàn với một bầu không khí tự nhiên, không gian sống thoáng đãng.
- - An toàn sức khỏe, môi trường bởi không sử dụng hóa chất.

Cửa lưới chống muỗi dạng xếp lùa
2. TÍNH NĂNG
| - Phần chân cửa có ray tiếp xúc đường ray cao 5mm cho phép đi lại dễ dàng mà không gặp bất kỳ khó khăn hay cản trở nào. - Đường ray chống trật bánh được thiết kế mới này ngăn cửa lưới không lệch khỏi đường ray trong trường hợp có tác động bất ngờ hoặc gió mạnh. |
|
- Lưới (100% từ sợi nhựa dẻo chịu nhiệt PP) với công nghệ xếp nếp theo tiêu chuẩn Metaco đạt độ cứng và độ bền cơ học cao, giữ cho toàn bộ mặt lưới phẳng, lưu thông không khí tốt. Cửa lưới được sơn lớp Carbon bảo vệ khỏi tia bức xạ UV |
|
- Màu sắc sẵn có ***Hình ảnh minh họa, màu sắc thực tế có thể thay đổi |
|
PHÂN LOẠI SẢN PHẨM
+ Cửa lưới chống muỗi dạng xếp lùa đơn

+ Của lưới chống muỗi dạng xếp lùa đôi


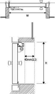
HƯỚNG DẪN LẮP ĐẶT
Vị trí lắp đặt phải phù hợp với những điều kiện sau:
1. Vị trí lắp đặt (khung cửa, tường, sàn...) phải bằng phẳng
2. Vị trí lắp đặt có chiều rộng tối thiểu từ 40mm
3. Tay nắm cửa và núm cửa không ảnh hưởng đến sản phẩm
4. Cửa mở vững chắc, thanh trượt song song và 4 góc cửa đúng vị trị.
KÍCH THƯỚC

Kiểm tra vị trí lắp đặt và kích thước chiều rộng, chiều cao khi mở cửa
>>> Chú ý: Đo chiều rộng, chiều cao cửa mở ở 2-3 vị trí khác nhau, vì nhiều trường hợp ô cửa bị lệch khi mở
Hãy đặt hàng theo kích thước thước đo lớn nhất.
>>> Chú ý: Bản lề trên cho phép điều chỉnh +10mm, -20mm chiều cao
CỦA LƯỚI CHỐNG MUỖI XẾP LÙA SONG SONG
Đây là thiết kế cửa có thể lắp đặt nhiều màn lưới. Bạn có thể nối 3 tấm màn lưới ở cùng 1 bên cánh cửa, tăng diện tích che lên đến 7,8m chiều rộng với 2 hệ thống kéo mở.

HNPC-ĐƠN VỊ LẮP ĐẶT THI CÔNG CỬA LƯỚI CHỐNG MUỖI NHẬT BẢN METACO CAO CẤP
- Sản phẩm cửa lưới chống muỗi thương hiệu Metaco Nhật Bản được Eco Pest Control nhập khẩu chính hãng, đầy đủ giấy tờ, đáp ứng các yêu cầu khắt khe của thị trường khó tính Nhật Bản.
- Đội ngũ kỹ thuật viên chuyên nghiệp, đào tạo bài bản theo quy trình nghiêm ngặt; Phục vụ tư vấn – Lắp đặt phù hợp với thẩm mỹ theo yêu cầu khách hàng.
- Bảo hành, bảo trì, sửa chữa toàn quốc.
- Chính sách bảo hành lên đến 03 năm; khi bảo hành không thu thêm bất kỳ phụ phí nào.
- Vận chuyển và lắp đặt theo yêu cầu khách hàng, đảm bảo yêu cầu kỹ thuật.
- Giá thành cạnh tranh, tương xứng chất lượng sản phẩm
Quý khách hàng quan tâm sản phẩm Cửa lưới chống muỗi có thể liên hệ với chúng tôi theo thông tin sau để được tư vấn miễn phí và mua hàng chính hãng Metaco Nhật Bản.
Công ty TNHH Diệt mối và Khử trùng Hà Nội (Eco Pest Control)
Hotline: 0909 261 286
Tổng đài miễn phí: 1800 545 468







